تم تسليم الرسالة إلى المستشار، سيتم التواصل معك قريبًا لحجز موعد.
تم إرسال طلب الشحن الخاص بك وسيقوم أحد المستشارين بالاتصال بك قريباً.
تم إرسال طلب الفحص الخاص بك بنجاح. سيتم الاتصال بك قريبا.

نظرة عامة

السعر
١٠٢,١٧٤ $ ٢٧,٨٢٠ € ٢٦,٠٠٠ £ ٢١,٦٠٧ $ ١٠٤,٣٥١


إنتاج

موديل

السنة
2010

حالة المعدة

الرقم التسلسلي
VF9S338DGA0063037


رقم التعريف
١٣٨٤٤٢٦

الوصف

🇬🇧 Information in English:


General information
Year of manufacture:
May 2010

Reference number:
O063037

Registration number:
AT192BP

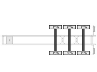
Axle configuration
Rear axle 1: Tyre profile left:
20%
; Tyre profile right:
25%

Rear axle 2: Tyre profile left:
30%
; Tyre profile right:
20%

Rear axle 3: Tyre profile left:
20%
; Tyre profile right:
25%

Weights
Empty weight:
6.520 kg

Carrying capacity:
32.480 kg

GVW:
39.000 kg

Financial information
VAT:
The price shown is excluding VAT



ADR

ADR: ✓
ADR date: 2022-06-02
ADR classes: Fl, AT
ADR tank code: L2.65BN

Chassis

Aluminum rims: ✓
Disc brake: ✓

Tank

Capacity (liter): 34930
Number of compartments: 1
Compartment capacity (liters): 34930
Material code: X5CrNi18.10
Material tank: Inox
Isolated: ✓
Test pressure: 2.65 bar
Maximum working pressure: 2.00 bar
Bitumen: ✓

Dealer information

For more information on this unit please call: +31164612460 or e-mail: info@dingemanse.nl.

A full stock overview can be found at: www.dingemanse.nl.

Please do not forget to subscribe to our newsletter for weekly updates on our stock.



🇳🇱 Informatie in het Nederlands:


Algemene informatie
Bouwjaar:
mei 2010

Referentienummer:
O063037

Kenteken:
AT192BP

Asconfiguratie
Achteras 1: Bandenprofiel links:
20%
; Bandenprofiel rechts:
25%

Achteras 2: Bandenprofiel links:
30%
; Bandenprofiel rechts:
20%

Achteras 3: Bandenprofiel links:
20%
; Bandenprofiel rechts:
25%

Gewichten
Ledig gewicht:
6.520 kg

Laadvermogen:
32.480 kg

GVW:
39.000 kg

Financiële informatie
BTW:
De getoonde prijs is exclusief BTW



Adr

ADR: ✓
ADR datum: 2022-06-02
ADR klassen: Fl, AT
ADR-tankcode: L2.65BN

Chassis

Aluminium velgen: ✓
Schijfrem: ✓

Tank

Inhoud (liter): 34930
Aantal compartimenten: 1
Inhoud compartimenten (liters): 34930
Materiaalcode: X5CrNi18.10
Materiaal tank: Inox
Geisoleerd: ✓
Testdruk: 2.65 bar
Maximale werkdruk: 2.00 bar
Bitumen: ✓

Insulated Maisonneuve stainless steel bitumen tank, Capacity 35170 liters, 1 Compartment, Tank material code EN 10028.7, Test pressure 2.65 bar, Max working pressure 2.0 bar // Air suspension, Lift axle, Alloy wheels, Mercedes axles, ABS, Disc brakes, Shipment dimensions 1185x250x360 cm

Bedrijfsinformatie

For more information on this unit please call: +31164612460 or e-mail: info@dingemanse.nl.

A full stock overview can be found at: www.dingemanse.nl.

Please do not forget to subscribe to our newsletter for weekly updates on our stock.



🇫🇷 Informations en Français:


Informations générales
Année de construction:
mai 2010

Numéro de référence:
O063037

Numéro d'immatriculation:
AT192BP

Configuration essieu
Essieu arrière 1: Sculptures des pneus gauche:
20%
; Sculptures des pneus droite:
25%

Essieu arrière 2: Sculptures des pneus gauche:
30%
; Sculptures des pneus droite:
20%

Essieu arrière 3: Sculptures des pneus gauche:
20%
; Sculptures des pneus droite:
25%

Poids
Poids à vide:
6.520 kg

Capacité de charge:
32.480 kg

PBV:
39.000 kg

Informations financières
TVA:
Le prix indiqué ne comprend pas la TVA



ADR

ADR: ✓
Date ADR: 2022-06-02
Cours ADR: Fl, AT
Code-citerne ADR: L2.65BN

Châssis

Jantes en aluminium: ✓
Frein à disque: ✓

Réservoir

Contenu (litre): 34930
Nombre de compartiments: 1
Contenu des compartiments (litres): 34930
Code matériau: X5CrNi18.10
Matériau du réservoir: Inox
Isolé: ✓
Pression d'essai: 2.65 bar
Charge de travail maximale: 2.00 bar
Bitume: ✓



🇩🇪 Informationen auf Deutsch:


Allgemeine Informationen
Baujahr:
Mai 2010

Referenznummer:
O063037

Kennzeichen:
AT192BP

Achskonfiguration
Hinterachse 1: Reifen Profil links:
20%
; Reifen Profil rechts:
25%

Hinterachse 2: Reifen Profil links:
30%
; Reifen Profil rechts:
20%

Hinterachse 3: Reifen Profil links:
20%
; Reifen Profil rechts:
25%

Gewichte
Leergewicht:
6.520 kg

Zuladung:
32.480 kg

zGG:
39.000 kg

Finanzielle Informationen
MwSt.:
Der angezeigte Preis versteht sich ohne MwSt.



Adr

Adr: ✓
ADR-Datum: 2022-06-02
ADR-Klassen: Fl, AT
ADR-Tankcode: L2.65BN

Chassis

Aluminiumfelgen: ✓
Scheibenbremse: ✓

Tank

Inhalt (Liter): 34930
Anzahl der Fächer: 1
Inhalt Fächer (Liter): 34930
Materialcode: X5CrNi18.10
Tankmaterial: Inox
Isoliert: ✓
Prüfdruck: 2.65 bar
Maximale Arbeitsbelastung: 2.00 bar
Bitumen: ✓

Firmeninformationen

For more information on this unit please call: +31164612460 or e-mail: info@dingemanse.nl.

A full stock overview can be found at: www.dingemanse.nl.

Please do not forget to subscribe to our newsletter for weekly updates on our stock.

🇬🇧 Information in English:


General information
Year of manufacture:
May 2010

Reference number:
O063037

Registration number:
AT192BP

Axle configuration
Rear axle 1: Tyre profile left:
20%
; Tyre profile right:
25%

Rear axle 2: Tyre profile left:
30%
; Tyre profile right:
20%

Rear axle 3: Tyre profile left:
20%
; Tyre profile right:
25%

Weights
Empty weight:
6.520 kg

Carrying capacity:
32.480 kg

GVW:
39.000 kg

Financial information
VAT:
The price shown is excluding VAT



ADR

ADR: ✓
ADR date: 2022-06-02
ADR classes: Fl, AT
ADR tank code: L2.65BN

Chassis

Aluminum rims: ✓
Disc brake: ✓

Tank

Capacity (liter): 34930
Number of compartments: 1
Compartment capacity (liters): 34930
Material code: X5CrNi18.10
Material tank: Inox
Isolated: ✓
Test pressure: 2.65 bar
Maximum working pressure: 2.00 bar
Bitumen: ✓

Dealer information

For more information on this unit please call: +31164612460 or e-mail: info@dingemanse.nl.

A full stock overview can be found at: www.dingemanse.nl.

Please do not forget to subscribe to our newsletter for weekly updates on our stock.



🇳🇱 Informatie in het Nederlands:


Algemene informatie
Bouwjaar:
mei 2010

Referentienummer:
O063037

Kenteken:
AT192BP

Asconfiguratie
Achteras 1: Bandenprofiel links:
20%
; Bandenprofiel rechts:
25%

Achteras 2: Bandenprofiel links:
30%
; Bandenprofiel rechts:
20%

Achteras 3: Bandenprofiel links:
20%
; Bandenprofiel rechts:
25%

Gewichten
Ledig gewicht:
6.520 kg

Laadvermogen:
32.480 kg

GVW:
39.000 kg

Financiële informatie
BTW:
De getoonde prijs is exclusief BTW



Adr

ADR: ✓
ADR datum: 2022-06-02
ADR klassen: Fl, AT
ADR-tankcode: L2.65BN

Chassis

Aluminium velgen: ✓
Schijfrem: ✓

Tank

Inhoud (liter): 34930
Aantal compartimenten: 1
Inhoud compartimenten (liters): 34930
Materiaalcode: X5CrNi18.10
Materiaal tank: Inox
Geisoleerd: ✓
Testdruk: 2.65 bar
Maximale werkdruk: 2.00 bar
Bitumen: ✓

Insulated Maisonneuve stainless steel bitumen tank, Capacity 35170 liters, 1 Compartment, Tank material code EN 10028.7, Test pressure 2.65 bar, Max working pressure 2.0 bar // Air suspension, Lift axle, Alloy wheels, Mercedes axles, ABS, Disc brakes, Shipment dimensions 1185x250x360 cm

Bedrijfsinformatie

For more information on this unit please call: +31164612460 or e-mail: info@dingemanse.nl.

A full stock overview can be found at: www.dingemanse.nl.

Please do not forget to subscribe to our newsletter for weekly updates on our stock.



🇫🇷 Informations en Français:


Informations générales
Année de construction:
mai 2010

Numéro de référence:
O063037

Numéro d'immatriculation:
AT192BP

Configuration essieu
Essieu arrière 1: Sculptures des pneus gauche:
20%
; Sculptures des pneus droite:
25%

Essieu arrière 2: Sculptures des pneus gauche:
30%
; Sculptures des pneus droite:
20%

Essieu arrière 3: Sculptures des pneus gauche:
20%
; Sculptures des pneus droite:
25%

Poids
Poids à vide:
6.520 kg

Capacité de charge:
32.480 kg

PBV:
39.000 kg

Informations financières
TVA:
Le prix indiqué ne comprend pas la TVA



ADR

ADR: ✓
Date ADR: 2022-06-02
Cours ADR: Fl, AT
Code-citerne ADR: L2.65BN

Châssis

Jantes en aluminium: ✓
Frein à disque: ✓

Réservoir

Contenu (litre): 34930
Nombre de compartiments: 1
Contenu des compartiments (litres): 34930
Code matériau: X5CrNi18.10
Matériau du réservoir: Inox
Isolé: ✓
Pression d'essai: 2.65 bar
Charge de travail maximale: 2.00 bar
Bitume: ✓



🇩🇪 Informationen auf Deutsch:


Allgemeine Informationen
Baujahr:
Mai 2010

Referenznummer:
O063037

Kennzeichen:
AT192BP

Achskonfiguration
Hinterachse 1: Reifen Profil links:
20%
; Reifen Profil rechts:
25%

Hinterachse 2: Reifen Profil links:
30%
; Reifen Profil rechts:
20%

Hinterachse 3: Reifen Profil links:
20%
; Reifen Profil rechts:
25%

Gewichte
Leergewicht:
6.520 kg

Zuladung:
32.480 kg

zGG:
39.000 kg

Finanzielle Informationen
MwSt.:
Der angezeigte Preis versteht sich ohne MwSt.



Adr

Adr: ✓
ADR-Datum: 2022-06-02
ADR-Klassen: Fl, AT
ADR-Tankcode: L2.65BN

Chassis

Aluminiumfelgen: ✓
Scheibenbremse: ✓

Tank

Inhalt (Liter): 34930
Anzahl der Fächer: 1
Inhalt Fächer (Liter): 34930
Materialcode: X5CrNi18.10
Tankmaterial: Inox
Isoliert: ✓
Prüfdruck: 2.65 bar
Maximale Arbeitsbelastung: 2.00 bar
Bitumen: ✓

Firmeninformationen

For more information on this unit please call: +31164612460 or e-mail: info@dingemanse.nl.

A full stock overview can be found at: www.dingemanse.nl.

Please do not forget to subscribe to our newsletter for weekly updates on our stock.

أظهر المزيد عرض أقل
طلب فحص لآلة
احصل على عرض سعر للفحص
خدمة الفحص مقدمة من قبل
Mevas
تواصل مع البائع
هولندا
عضو في موقع المعدات والاليات منذ Jul. 2019
Back